任天堂vr游戏 最新款游戏机或具备vr功能
12-19 阅读(560)索尼都有PS VR了,任天堂也呆不住了,新款游戏机或也将能够具备VR功能。

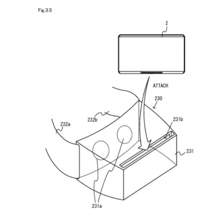
从之前曝光的消息来看,任天堂将会推出一款全新的混合式游戏机Switch。Switch将于明年一月正式亮相,届时任天堂也将公布更多关于Switch的详细信息,稍后会在三月正式开卖。由于Switch采用的是可拆分式设计,因此预计也会十分多样。而在正式发布之前,一位来自NeoGAF论坛的用户发现了任天堂在美国专利和商标局注册的专利方案,而从这项专利来看,Switch或许也将能够变身为一台VR设备。

在专利中,Switch或将有配套的VR配件,能够将显示器部分放入配件当中,然后再戴到头上,配合手柄来进行VR游戏。考虑到VR现在十分火热,而且诸如索尼等竞争对手已经推出了面向大众消费群体的VR游戏设备,因此任天堂进军VR领域的可能性也非常大。当然,既然是专利,因此也有一定的可能性暂时不会面世。

